专业检测师免费上门检测·全国经销商实时竞价·认可价格,立即成交
发布时间:2024-10-14 10:07 二手车知识
对于想要卖车的车主而言,最关心的莫过于这辆二手车的市场价值几何?同一型号的二手车,为什么有些价格卖的高?有些卖得低?二手车的价值受哪些因素影响?今天,天天拍车小编就带着这些问题,以别克君越二手车评估为案例,给大家详细科普一下关于二手车评估的问题。
车辆基本信息:
车型:别克君越2008款 2.4 豪华导航版
车型系列:别克君越
上牌时间:2008年09月
行驶里程:6.9万公里
新车指导价:24.98万
车主的这款车于2008年购买,13年车龄,现在想要转手卖掉,可以卖多少钱呢?一起来看下。
该款车2008年上牌启用,行驶6.9万公里,新车指导价24.98万元,车况很新的情况下,成交价0.95万。
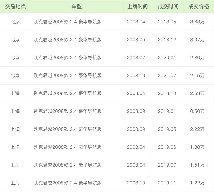
以上为这款车在各个地区二手车的成交价格,由此可见,影响二手车价格的因素很多,不能单从一两个因素去看。
总而言之,二手车评估是一个科学、严谨的事情,这不仅是规范市场的需要,更是对买卖双方的负责。目前中国的二手车评估师很多在这方面做的还不够到位,需要加强。现实生活中如果要买二手车或者卖二手车,最好带一位足够了解车的老司机,帮忙掌掌眼。
如果车主想要知道自己的能卖多少钱?欢迎来天天拍车!
声明:以上内容来源于网络转载,出于传递信息及学习之目的,不代表本网站的观点、立场,本网站不对其真实性负责
最高多卖20%
认可价格, 即可成交