专业检测师免费上门检测·全国经销商实时竞价·认可价格,立即成交
发布时间:2019-12-17 15:50 二手车知识
在二手车市场,一直流传着“一车一况、一况一价”这样的说法。同一款车,因为车况不同,所售价格也不同。最近两年,随着汽车保有量的不断增加,二手车市场越来越受到人们的关注。那么,如何正确评估一辆二手车的价格呢?我们以本田雅阁为例,看看二手车评估师怎么说!
车辆基本信息:
车型:本田雅阁2008款 2.4L EX
车型系列:本田雅阁
上牌时间:2008年02月
行驶里程:17.0万公里
新车指导价:22.98万
车主的这款车于2008年购买,10年车龄,现在想要转手卖掉,可以卖多少钱呢?一起来看下。
该款车2008年上牌启用,行驶17.0万公里,新车指导价22.98万元,车况良好的情况下,成交价5.02万。
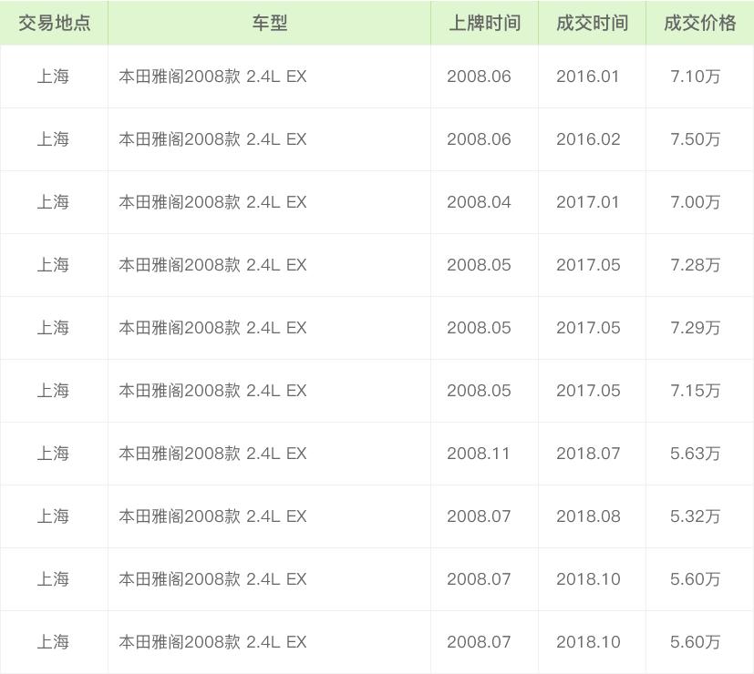
以上为这款车在各个地区二手车的成交价格,由此可见,影响二手车价格的因素很多,不能单从一两个因素去看。
二手车评估是二手车买卖中的核心环节,一辆二手车一旦进入市场流转,不管何种买卖方式,均需要估价二手车状况进行全部的了解和评价,所以在进行估价二手车时一定不要大意,毕竟直接影响到车主车子的价格,如果实在不了解,可以现在线上做一个简单的评估。
如果车主想要知道自己的能卖多少钱?欢迎来天天拍车!
声明:以上内容来源于网络转载,出于传递信息及学习之目的,不代表本网站的观点、立场,本网站不对其真实性负责
最高多卖20%
认可价格, 即可成交